This page needs JavaScript activated to work. Sideshift Flail Mower, Offset Side Mulcher For Tractors LEO-140
FREE SHIPPING ALL OVER AUSTRIA

Estimated deliveries in 15 - 20 days from the day of ordering, shipment operated by DB Schenker - Notification by phone call upon dispatch.

Chuck Norris offers you 5%DISCOUNTon the second product VIEW THE DETAILS

Sideshift Flail Mower, Offset Side Mulcher For Tractors LEO-140

4.6

1322 reviews

Available
Code LEO140PTO
EAN 8053470231032
View all details.
TOTAL
2.736,00VAT incl.
Free shipping

VIDEO
Field test
Field test

DETAILS

Sideshift Flail Mower 452kg / 140cm, Offset Side Mulcher For Tractors - DELEKS® LEO-140 - Internal Gearbox - Pto shaft CE included.


OVERVIEW

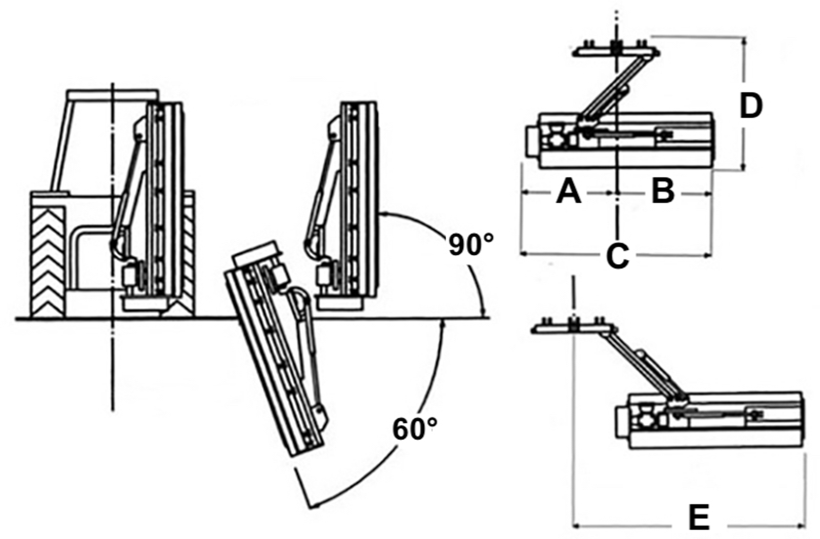
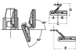
The LEO-140 multi-purpose mower is for home and professional use and is extremely popular among organic farmers to tackle rushes, brambles and hedges. The LEO cuts grass, but also shreds small twigs and branches 4-5cm thick making it ideal for docks, thistles and long, thick grass on roadsides. It can also be used for pruning and trimming bushes as it can be hydraulically angled vertically (90º) or down (60º) for riverbanks, verges and ditches. This mower is attached to the tractor using universal three point linkage and fits most 40-70hp tractors e.g Kubota, Ford, New Holland T3F, McCormick, John Deere 3, Ford, Lamborghini.

Universal three point hitch with hydraulic offset Cat. 1-2, Pto Shaft 180cm CE.


SIZES

a: 750 mm

b: 770 mm

c: 1520 mm

d: 1550 mm

e: 2000 mm


BENEFITS AND FEATURES

GB Bologna Gearbox with free wheel (Made in Italy) with 3 year warranty.

SKF long life rotor bearings.

Sturdy and durable design for heavy usage.

Internal Gearbox to work directly behind the tractor or right of the central axis.

It cuts between trees easily making it ideal for work in orchards.

Break back system to protected three point linkage.

Electronically balanced rotor.

Adjustable roller unit and side skids.

4 high resistance toothed belts, and external belt tensioner.

Electronically balanced rotor.

Pto shaft CE included.



  

CHARACTERISTICS

Characteristic Units metric
Working width 1392.0 mm
Overall width 1520.0 mm
Min / Max cutting height 10.0 - 45.0 mm
Weight 452.0 kg
Overall height 850.0 mm
Tractor Power Range 40 - 70 Hp
3 point linkage Cat. 1-2 (ø 19.0-22.0mm / 25.0-28.0mm)
Position of the gearbox Internal
Hood height 390.00 mm
Spacing between the 2 lower points 730.0 - 960.0 mm
Number of Hammers 20
Maximum cutting diameter 40.0 - 50.0 mm
Overall length 1550.0 mm (closed)
Distance between pto attachment and ground 490.0 mm
Main hood thickness 4.0 mm
Sides thickness 6.0 mm
Side plates thickness 6.0 mm
Transmission: Drive method V-Belts
Transmission: Gearbox GB Bologna (Italy) (3 year warranty)
Transmission: PTO 540 r/min
Transmission: Rotation of gearbox Right side
Transmission: Free wheel
Transmission: RPM Rotor speed 2300 rpm
Transmission: Oil in the gearbox Yes / SAE 120 - ISO 72925
Transmission: Top pulley ø 170.0 mm
Transmission: Lower pulley ø 120.0 mm
Transmission: V-Belts quantity 4
Transmission: V-Belts size 17x1026
Rotor: diameter 108.0 mm
Rotor: bearings type and size SKF 6207
Rotor: balancing Electronic
Rotor: sheet thickness 8.0 mm
Hammers: Weight 820.0 g
Hammer: øhole 15.0 mm
Hammer: base width 82.0 mm
Hammer: top width 45.0 mm
Hammer: Diagonal 95.0 mm
Rear roller: diameter 140.0 mm
Rear roller: sheet thickness 5.0 mm
Rear roller: bearings type and size UC205
Displacement and Sizes See pictures
Hydraulic cylinder A diam. 70.0 - 30.0 mm
Hydraulic cylinder B diam. 65.0 - 25.0 mm
Min./Max. Relief Pressure 120 - 150 bar
Min./Max. Flow 18 - 22 l/min
Hydraulic Hoses WP 400 Bar, 1/2" Agri Standard
Pto shaft CE 5x1800 mm
Hood length 630.0 mm
Packing sizes 1580.0*800.0*760.0 mm

Certifications

SSAB Laser 355MC   Download PDF
ARVEDI / TUBINDUSTRIA: Certification   Download PDF

Technical charts

Shell Spirax S2 A 80W-90: Specifications   Download PDF
DETAILS
CHARACTERISTICS
Certifications
Technical charts

DETAILS

CLOSE

Sideshift Flail Mower 452kg / 140cm, Offset Side Mulcher For Tractors - DELEKS® LEO-140 - Internal Gearbox - Pto shaft CE included.


OVERVIEW

The LEO-140 multi-purpose mower is for home and professional use and is extremely popular among organic farmers to tackle rushes, brambles and hedges. The LEO cuts grass, but also shreds small twigs and branches 4-5cm thick making it ideal for docks, thistles and long, thick grass on roadsides. It can also be used for pruning and trimming bushes as it can be hydraulically angled vertically (90º) or down (60º) for riverbanks, verges and ditches. This mower is attached to the tractor using universal three point linkage and fits most 40-70hp tractors e.g Kubota, Ford, New Holland T3F, McCormick, John Deere 3, Ford, Lamborghini.

Universal three point hitch with hydraulic offset Cat. 1-2, Pto Shaft 180cm CE.


SIZES

a: 750 mm

b: 770 mm

c: 1520 mm

d: 1550 mm

e: 2000 mm


BENEFITS AND FEATURES

GB Bologna Gearbox with free wheel (Made in Italy) with 3 year warranty.

SKF long life rotor bearings.

Sturdy and durable design for heavy usage.

Internal Gearbox to work directly behind the tractor or right of the central axis.

It cuts between trees easily making it ideal for work in orchards.

Break back system to protected three point linkage.

Electronically balanced rotor.

Adjustable roller unit and side skids.

4 high resistance toothed belts, and external belt tensioner.

Electronically balanced rotor.

Pto shaft CE included.



  

CHARACTERISTICS

CLOSE
Characteristic Units metric
Working width 1392.0 mm
Overall width 1520.0 mm
Min / Max cutting height 10.0 - 45.0 mm
Weight 452.0 kg
Overall height 850.0 mm
Tractor Power Range 40 - 70 Hp
3 point linkage Cat. 1-2 (ø 19.0-22.0mm / 25.0-28.0mm)
Position of the gearbox Internal
Hood height 390.00 mm
Spacing between the 2 lower points 730.0 - 960.0 mm
Number of Hammers 20
Maximum cutting diameter 40.0 - 50.0 mm
Overall length 1550.0 mm (closed)
Distance between pto attachment and ground 490.0 mm
Main hood thickness 4.0 mm
Sides thickness 6.0 mm
Side plates thickness 6.0 mm
Transmission: Drive method V-Belts
Transmission: Gearbox GB Bologna (Italy) (3 year warranty)
Transmission: PTO 540 r/min
Transmission: Rotation of gearbox Right side
Transmission: Free wheel
Transmission: RPM Rotor speed 2300 rpm
Transmission: Oil in the gearbox Yes / SAE 120 - ISO 72925
Transmission: Top pulley ø 170.0 mm
Transmission: Lower pulley ø 120.0 mm
Transmission: V-Belts quantity 4
Transmission: V-Belts size 17x1026
Rotor: diameter 108.0 mm
Rotor: bearings type and size SKF 6207
Rotor: balancing Electronic
Rotor: sheet thickness 8.0 mm
Hammers: Weight 820.0 g
Hammer: øhole 15.0 mm
Hammer: base width 82.0 mm
Hammer: top width 45.0 mm
Hammer: Diagonal 95.0 mm
Rear roller: diameter 140.0 mm
Rear roller: sheet thickness 5.0 mm
Rear roller: bearings type and size UC205
Displacement and Sizes See pictures
Hydraulic cylinder A diam. 70.0 - 30.0 mm
Hydraulic cylinder B diam. 65.0 - 25.0 mm
Min./Max. Relief Pressure 120 - 150 bar
Min./Max. Flow 18 - 22 l/min
Hydraulic Hoses WP 400 Bar, 1/2" Agri Standard
Pto shaft CE 5x1800 mm
Hood length 630.0 mm
Packing sizes 1580.0*800.0*760.0 mm

Certifications

CLOSE
SSAB Laser 355MC   Download PDF
ARVEDI / TUBINDUSTRIA: Certification   Download PDF

Technical charts

CLOSE
Shell Spirax S2 A 80W-90: Specifications   Download PDF

Optional

4 belts LEO
Optional special price. -8,40 84,00VAT incl. 75,60VAT incl.
Available


10 Hammers T
Optional special price. -12,60 126,00VAT incl. 113,40VAT incl.
Available

TIGRE/PUMA/RINO/LEO/INTERFILA (2021>)

10 Bolts + nuts T
Optional special price. -6,50 65,00VAT incl. 58,50VAT incl.
Available

PUMA/TIGRE/RINO/LEO

Spare pins Cat. 1-2
Optional special price. -6,30 63,00VAT incl. 56,70VAT incl.
Not available Notify me

ø 19.0/22.0 + 25.0/28.0 mm

10 x 3 Blades T
Optional special price. -13,40 134,00VAT incl. 120,60VAT incl.
Not available Notify me

PUMA/TIGRE/RINO/LEO

PTO-adapter
Optional special price. -5,00 50,00VAT incl. 45,00VAT incl.
Available


Cardan replacement: 6x1800mm wide angle
Optional special price. -30,90 309,00VAT incl. 278,10VAT incl.
Not available Notify me

1800.0 -> 2500.0 mm

70.85 -> 98.45 in


Top-link 680
Optional special price. -7,10 71,00VAT incl. 63,90VAT incl.
Available

Cat. 2-2

680.0-930.0 mm

Top-link 730
Optional special price. -9,50 95,00VAT incl. 85,50VAT incl.
Available

Cat. 2-2

730.0-980.0 mm

4 belts LEO
Optional special price. -8,40 84,00VAT incl. 75,60VAT incl.
Available


10 Hammers T
Optional special price. -12,60 126,00VAT incl. 113,40VAT incl.
Available

TIGRE/PUMA/RINO/LEO/INTERFILA (2021>)

10 Bolts + nuts T
Optional special price. -6,50 65,00VAT incl. 58,50VAT incl.
Available

PUMA/TIGRE/RINO/LEO

Spare pins Cat. 1-2
Optional special price. -6,30 63,00VAT incl. 56,70VAT incl.
Not available Notify me

ø 19.0/22.0 + 25.0/28.0 mm

10 x 3 Blades T
Optional special price. -13,40 134,00VAT incl. 120,60VAT incl.
Not available Notify me

PUMA/TIGRE/RINO/LEO

PTO-adapter
Optional special price. -5,00 50,00VAT incl. 45,00VAT incl.
Available


Cardan replacement: 6x1800mm wide angle
Optional special price. -30,90 309,00VAT incl. 278,10VAT incl.
Not available Notify me

1800.0 -> 2500.0 mm

70.85 -> 98.45 in


Top-link 680
Optional special price. -7,10 71,00VAT incl. 63,90VAT incl.
Available

Cat. 2-2

680.0-930.0 mm

Top-link 730
Optional special price. -9,50 95,00VAT incl. 85,50VAT incl.
Available

Cat. 2-2

730.0-980.0 mm

Reviews

What our customers say about us